Двухтональный звонок на микросхемах

 

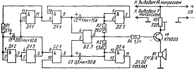
Двухтональный звонок на микросхемах собран на двух микросхемах и одном транзисторе.

Логические элементы D1.1-D1.3, резистор R1 и конденсатор С1 образуют переключающий генератор.

При включении питания конденсатор С1 начинает заряжаться через резистор R1. По мере заряда конденсатора повышается напряжение на его обкладке, соединенной с выводами 1, 2 логического элемента D1.2. Когда оно достигнет 1,2...1,5 В, на выходе 6 элемента D1.3 появится сигнал логической "1" ( 4 В), a нa выходе 11 элемента D1.1 - сигнал логического "0" (0,4 В). После этого конденсатор С1 начинает разряжаться через резистор R1 и элемент D1.1. В итоге на выходе 6 элемента D1.3 будуг формироваться прямоугольные импульсы напряжения. Такие же импульсы, но сдвинутые по фазе на 180°, будут на выводе 11 элемента D1.1, выполняющего роль инвертора.

Продолжительность заряда и разряда конденсатора С1, а значит, частота переключающего генератора, зависит от емкости конденсатора С1 и сопротивления резистора R1. При указанных на схеме номиналах этих элементов частота переключающего генератора составляет 0,7...0,8 Гц.

Импульсы переключающего генератора подаются на генераторы тона. Один из них выполнен на элементах D1.4, D2.2, D2 3, другой - на элементах D2.1, D2.4, D2.3. Частота первого генератора - 600 Гц (ее можно изменять подбором элементов С2, R2), частота второго - 1000 Гц (эту частоту можно изменять подбором элементов СЗ, R3). При работающем переключающем генераторе на выходе генераторов тона (вывод 6 элемента D2.3) будет периодически появляться то сигнал одного генератора, то сигнал другого. Затем эти сигналы поступают на усилитель мощности (транзистор V1) и преобразуются головкой В1 в звук. Резистор R4 необходим для ограничения тока базы транзистора. Подстроечным резистором R5 можно подобрать нужную громкость звучания.

Постоянные резисторы-МЛТ-0,125, подстроечный-СПЗ-1Б, конденсаторы С1-СЗ - К50-6. Логические микросхемы К155ЛАЗ можно заменить на К133ЛАЗ, К158ЛАЗ, транзистор КТ603В - на КТ608 с любым буквенным индексом. Источником питания служат четыре последовательно соединенных аккумулятора Д-0,1, батарея 3336Л или стабилизированный выпрямитель на 5 В.

Обсудить эту статью на форуме (0 ответов).
Вся информация, предоставленная на данном ресурсе разрешена к ознакомлению детям школьного возраста. Все практическое использование может быть связана с повышенной электрической опасностью и разрешено детям только под присмотром взрослых.