Игровой автомат "Кто быстрее?"

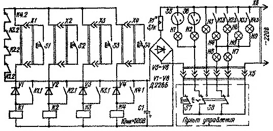
Игровой автомат "Кто быстрее?" позволяет определить, у кого лучше реакция. В игре участвуют от двух до четырех человек. Автомат состоит из четырех пультов, на которых установлено для играющих по одной кнопке S1...S4, судейского пульта и табло с лампочками Н4...Н9.

Работает автомат следующим образом. Судья нажимает кнопку переключателя S8 и включает лампу НЗ, что служит для игроков сигналом старта. Лампы HI и Н2 отвлекающего сигнала, включенные через контакты S5 и S6, отключаются. Одна из кнопок S1...S4 игрока, первым отреагировавшего на сигнал старта, включит реле, которое контактами К1.1...К4.1 самоблокируется. Контакты K1.2...K4.2 размыкают цепь питания всех кнопок игроков, и одним из контактов К1.3...К4.3 включают одну из ламп Н4, Н6, Н8, Н9 своего номера и табло Н7 "Выиграл". Кнопка S7 служит для сброса.

Детали. Реле с сопротивлением обмотки не менее 6 кОм, с двумя группами контактов на замыкание и одной на размыкание (РС-13, РС-52 и др.) регулируется так: при срабатывании сначала замыкаются блокирующие контакты, а затем размыкаются нормально замкнутые контакты. Переключатель S8 типа П2К и кнопки рассчитаны на напряжение не менее 220 В, электролампы HI -НЗ - на напряжение 220 В и мощность 15 Вт, Н4-Н9 - на напряжение ПО В и мощность 8 Вт.

Обсудить эту статью на форуме (0 ответов).
Вся информация, предоставленная на данном ресурсе разрешена к ознакомлению детям школьного возраста. Все практическое использование может быть связана с повышенной электрической опасностью и разрешено детям только под присмотром взрослых.