Приставка "Цветной звук"

Одна из популярных радиолюбительских конструкций - светодинамическая установка (СДУ). Ее еще называют "цветомузыкальной приставкой". При подключении такой приставки к источнику звука, на ее экране появляются самые причудливые цветовые всполохи.

Очередная конструкция набора - простейшее устройство, позволяющее познакомиться с принципом получения "цветного звука".

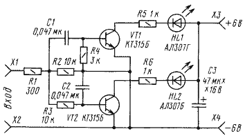
На входе приставки стоят два частотных фильтра - С1 R4 и R3C2. Первый из них пропускает высшие частоты, а второй - низшие. Выделенные фильтрами сигналы поступают на усилительные каскады, нагрузками которых являются светодиоды. Причем в канале высших частот стоит светодиод HL1 зеленого цвета свечения, а в канале низших частот - красного (HL2).
Источником сигнала звуковой частоты может стать, например, радиоприемник или магнитофон. К динамической головке одного из них нужно подключить два провода в изоляции и соединить их с входными гнездами Х1 и Х2 приставки. Прослушивая воспроизводимую мелодию, вы будете наблюдать вспышки светодиодов. Кроме того, нетрудно различать "реакцию" светодиодов на звуки той или иной тональности. Скажем, при звуках барабана будет вспыхивать светодиод красного цвета свечения, а звуки скрипки вызовут вспышки светодиода зеленого цвета. Яркость светодиодов устанавливают регулятором громкости источника звукового сигнала.

Обсудить эту статью на форуме (0 ответов).
Вся информация, предоставленная на данном ресурсе разрешена к ознакомлению детям школьного возраста. Все практическое использование может быть связана с повышенной электрической опасностью и разрешено детям только под присмотром взрослых.