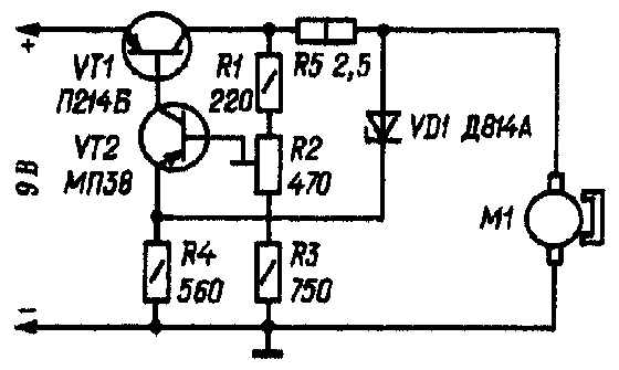
Занимаясь длительное время ремонтом бытовых магнитофонов, я часто сталкивался с выходом из строя стабилизатора частоты вращения вала электродвигателя. Пришлось разработать свой вариант этого устройства (рис.1), не содержащего дефицитных деталей и, как оказалось, более надежного в работе.
Стабилизатор частоты вращения электродвигателя
Doc
Просмотров: 4961