|
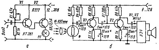
Широкому распространению радиотелефонов препятствует необходимость иметь специальное разрешение. Современная транзисторная техника позволяет создавать любительские световые телефоны, не нуждающиеся в специальном разрешении. Принципиальная схема миниатюрного светотелефона с дальностью действия до 50 м днем и до 200 м ночью показана на рисунке. |
![]() |
|
В качестве излучающих можно использовать лампы 6B/0,5А (до 2000Гц), 24В/0,2А (до 3000 Гц), 12В/0,1А (до 4000 Гц). В скобках указана верхняя рабочая частота лампы. В качестве рефлектора излучателя - можно использовать фару от мотоциклов или автомобиля, у которой рифленое стекло следует заменить обыкновенным. |
![]() |
|
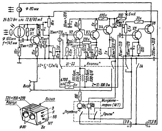
Под влиянием звуковых колебаний мембрана начинает колебаться, в результате чего изменяется яркость отраженного фольгой светового излучения. Мембрану можно выполнить из тонкого целлулоида диаметром 50 мм, на который наклеен круг из алюминиевой фольги диаметром 24мм. Фольгу можно взять от оберток шоколадных конфет. Мембрану приклеивают к срезанному под углом концу трубки объектива. Диаметр линзы 30 мм, фокусное расстояние 143 мм. Передвигая лампу (3,5...6,3 В/0,3 А) вдоль трубки, добиваются четкого изображения светового пятна на расстоянии 3 м. Под воздействием звука (речь, свист), проникающего в переговорное отверстие, световой поток должен менять фокусировку. Если это не произойдет, то следует отрегулировать длину трубки - объектива с линзой. Трубку можно изготовить из картона или пластмассы. Внутри ее покрывают черной матовой краской либо оклеивают черной бумагой. Настройка оптической системы фотоприемника сводится к подбору расстояния между линзой и фототранзистором, обеспечивающим максимальную громкость и разборчивость приема. В случае применения линз другого диаметра с иным фокусным расстоянием размеры передатчика и приемника светотелефона следует изменить в соответствии с фокусным расстоянием линз. В устройстве применены транзисторы VI...V5 типа КТ315Д и V6 типа КТ816А. |
Светотелефон
Doc
Просмотров: 7160

