А.КИЧИГИН,
г.Изобильный, Ставропольского кр.
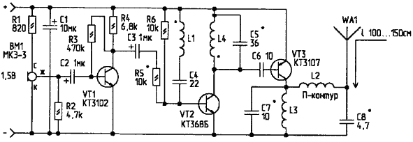
Предлагаю схему радиомикрофона. Питание - 1,5 В от аккумулятора. Дальность действия - около 100 м, в условиях прямой видимости. Ток потребления - не более 6 мА.

Одного аккумулятора от фонарика хватает на 48
часов непрерывной работы. Плата (рис.2) изготовлена из двустороннего
фольгированного стеклотекстолита. Катушки L1 и L4 намотаны на пластмассовом
корпусе транзистора VT2 (КТ368) (в металлическом корпусе этот транзистор не
подходит).
Катушка L1 содержит 1 виток провода ПЭЛ 0,3 мм; L4 - 4 витка ПЭЛ 0,3 мм. Катушка L2 - бескаркасная, намотана виток к витку на оправке 06 мм и содержит 22 витка провода ПЭЛ 0,6 мм. L3 намотана внавал на резисторе 100...200 кОм и содержит 60 витков провода ПЭЛ 0,11 мм. Аккумулятор расположен непосредственно на плате и закреплен латунной пластиной, которая выгнута по форме аккумулятора. Она вставлена в отверстия платы и пропаяна снизу. В точки Х1 и Х2 вставлены куски провода и пропаяны для получения минусового контакта аккумулятора. При наладке нужно сдвигом или растяжкой витков катушки L4, а при необходимости, и подбором конденсатора С5 добиться попадания несущей в нужный диапазон (30, 66, 108 МГц). Резистором R5 устанавливается необходимый уровень девиации частоты. После того как произведена настройка на требуемый участок диапазона, конденсаторами С7 и С8 добиваются максимума мощности сигнала.
Для фиксации и жесткости катушки L4, ее вместе с VT2 желательно пропитать парафином.
Радиолюбитель 7 (2000)