Техника гетеродинного приема или, как ее часто называют, прямого преобразования частоты позволяет создавать весьма простую, но обладающую неплохими характеристиками аппаратуру для любительской связи на коротких волнах — трансиверы и радиоприемные устройства. Интерес к гетеродинному приему (в современном его варианте) возник в конце 60-х годов. С тех пор на страницах радиолюбительских журналов опубликовано немало описаний различных конструкций
KB аппаратуры, использующей прямое преобразование частоты. У нас в стране в Издательстве ДОСААФ СССР вышли две книги известного радиолюбителя-конструктора В. Полякова
(RA3AAE), много сделавшего для популяризации техники гетеродинного приема. Одна из этих книг — “Приемники прямого преобразования для любительской связи” (1981), другая — “Трансиверы прямого преобразования” (1984). В них подробно рассмотрены физические основы и особенности гетеродинного приема сигналов любительских радиостанций, даны практические конструкции как
отдельных узлов, так и законченных аппаратов.
Одна из причин повышенного интереса, который коротковолновики проявляют к подобной технике,— получающая в последние годы все большее распространение работа малой мощностью
(QRP). Техника гетеродинного приема как нельзя лучше подходит для создания
QRP аппаратуры. Интересно отметить, что в США, например, несмотря на широкий ассортимент связной аппаратуры с традиционными схемными решениями одна из фирм выпускает (и он пользуется большой популярностью) относительно недорогой
QRP трансивер с прямым преобразованием частоты.
Гетеродинный приемник, о котором рассказывается в этой статье, предназначен для приема сигналов любительских радиостанций в одном из наиболее популярных
KB диапазонов — 20-метровом. Приемник перекрывает (естественно, с некоторым запасом на краях) весь этот диапазон: от 14000 до 14350 кГц. Как известно, прямое преобразование частоты позволяет принимать только сигналы радиостанций, работающих телеграфом
(CW) или однополосной модуляцией (SSB). Станции с амплитудной модуляцией удается прослушивать лишь с трудом (и, как правило, с заметными искажениями), настроившись на “нулевые биения” с несущей частотой. Однако это несущественно, ибо в подавляющем большинстве коротковолновики уже не применяют
AM. Этот вид излучения сохранился практически только в диапазоне 160 м, где его используют некоторые из начинающих радиолюбителей.
Приемник имеет гетеродин с довольно мощным выходом, что позволяет в дальнейшем путем несложной доработки превратить его в однодиапазонный телеграфный трансивер. Заметим сразу, что простой заменой частотоопределяющих элементов (катушек
и конденсаторов в колебательных контурах) этот приемник (или трансивер) может быть переведен на любой любительский диапазон.
Для упрощения конструкции приемника, его изготовления и налаживания в нем нет усилителя радиочастоты, поэтому чувствительность приемника составляет примерно 1 мкВ при соотношении сигнал/шум 10 дБ. Такая чувствительность вполне достаточна (по крайней мере в подавляющем большинстве случаев) для повседневной работы в эфире при условии использования на станции наружной антенны. Ее без труда можно повысить в три-четыре раза, введя на входе приемника (между входным контуром и смесителем) эмиттерный повторитель.
Полоса пропускания приемника по уровню —6 дБ лежит в пределах 250 ...3000 Гц. При приеме телеграфных станций в условиях сильных помех ее можно сузить до 200...300 Гц (при средней частоте около 600 Гц). Эти цифры характеризуют. тракт звуковой частоты приемника, где в основном и осуществляется селекция сигнала. Реально, как известно, гетеродинные приемники принимают как основной, так и непосредственно примыкающий к нему зеркальный канал (если не использовать фазовые методы подавления зеркального канала, что заметно усложняет аппарат). Вот почему реальная полоса принимаемых сигналов в два раза превышает приведенные выше значения.
Питается приемник от батареи элементов, обеспечивающих напряжение в пределах 10...15 В. Потребляемый ток — около 30 мА. Гетеродинные приемники, имеющие очень высокий коэффициент усиления на звуковых частотах, весьма чувствительны к наводкам переменного тока с частотой 50 Гц, в частности, к наводкам от сетевого трансформатора (из-за значительного поля рассеивания), а также к пульсациям напряжения питания (обычно с частотой 100 Гц—при двухполупериодном выпрямлении). По этим причинам питать приемник от сети нецелесообразно. При необходимости это, конечно, можно
сделать, но тогда следует применить отдельный (выносной) блок питания с хорошим стабилизатором напряжения, обеспечивающим малые пульсации выходного напряжения.
Приемник выполнен на двух печатных платах — основной и гетеродина, на которых расположено подавляющее большинство деталей. На рисунках позиционные обозначения деталей даны без указания номера платы
(1— основная, 2 — гетеродина), а в тексте они во избежание путаницы будут обозначаться как
1-С1, 2-L1 и т. д. Детали, находящиеся вне этих плат, будут обозначаться без дополнительного индекса
C1 R1 и т. д.

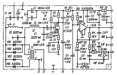
Рис. 1. Принципиальная схема основной платы
Принципиальная схема основной платы приемника приведена на рис. 1. Сигнал с антенны поступает на вывод
1 платы. Селективность приемника по радиочастоте обеспечивается одиночным входным контуром
1-L1, 1-С1, 1-С2, Входное сопротивление подключенного к этому контуру смесителя на диодах
I-VD1—1-VD4 невысокое (единицы килоом), поэтому нагруженная добротность этого контура также будет небольшой — 25...30. По этой причине полоса пропускания входного контура по уровню —3 дБ лежит в пределах 450...550 кГц, и подстраивать его при перестройке приемника по диапазону нет необходимости. Согласование этого контура с источником сигнала (50...75 Ом, например, диполь, запитываемый коаксиальным кабелем) обеспечено выбором емкостей конденсаторов
1-С1 и 1-С2.
Смеситель выполнен по балансной схеме на встречно-параллельных диодах, что дает возможность получить очень маленькое “пролезание” напряжения гетеродина в антенну и исключить тем самым помехи радиолюбителям, проживающим по соседству. Смеситель подключен к контуру полностью. Это позволило получить достаточно высокую чувствительность приемника без усилителя радиочастоты (правда, ценой некоторой потери селективности по входу). Напряжение гетеродина поступает на вывод
12 платы и подается на смеситель через симметрирующий трансформатор
1-Т1. Со средней точки вторичной обмотки (выводы
1—3) этого трансформатора продукты смешения поступают
на фильтр низших частот 1-L2, 1-С6, 1-С7 с частотой среза около 2,5 кГц. Этот фильтр выделяет полезный сигнал звуковой частоты, который предварительно усиливается каскадом на транзисторе
1-VT1. Для достижения минимального уровня собственных шумов напряжение коллектор-эмиттер у этого транзистора выбрано примерно 2,5 В, а ток коллектора около 0,2 мА. Коэффициент усиления каскада
— примерно 70. Он определяется отношением” сопротивления нагрузки в коллекторной цепи транзистора к сумме сопротивлений резистора
1-R4 и эмиттерного перехода транзистора. Сопротивление нагрузки — это включенные параллельно резисторы
1-R3, 1-R7, 1-R8, а также регулятор уровня сигнала звуковой частоты
R1, находящийся вне платы (см. рис. 5). Входным сопротивлением операционного усилителя
1-DA1 и выходным сопротивлением транзистора 1-VT1
(они также подключены параллельно нагрузке) в данном случае можно пренебречь. Коэффициент усиления предварительного усилителя устанавливают подбором резистора
1-R4 (на режим работы транзистора по постоянному току он влияет слабо).
Для улучшения селективности приемника параллельно нагрузке транзистора
1-VT1 включен конденсатор 1-С9. Он обеспечивает дополнительное ослабление сигналов с частотами, лежащими выше 5 кГц.
Основное усиление приемника обеспечивает каскад на операционном усилителе
1-DA1. В целом от тракта звуковой частоты приемника требуется коэффициент усиления около 100000. В этом случае напряжение шумов на выходе ОУ (т. е. на головных телефонах) будет примерно 20 мВ, так как напряжение шумов, приведенное ко входу усилителя на транзисторе
1-VT1, обычно лежит в пределах 0,1...0,3 мкВ. Причем 0,1 мкВ получить уже достаточно трудно — требуется применение транзисторов с нормированным коэффициентом шума и тщательный подбор
режима их работы по постоянному и переменному току. С учетом шумов смесителя общее напряжение шумов на выходе ОУ составит примерно 30...40 мВ. Они уже хорошо прослушиваются в головных телефонах. Увеличение их уровня выше приведенных значений
будет ограничивать динамику приемника по выходу, определяемую как отношение максимального уровня выходного сигнала к уровню шумов на выходе приемника. Для приемников прямого преобразования, не имеющих, как правило, системы автоматической регулировки уровня, этот параметр достаточно важен.
Современные операционные усилители имеют коэффициент усиления свыше ста тысяч, и, казалось бы, вполне можно было бы ограничиться всего одним каскадом. Однако это не так. Во-первых, большинство ОУ обладает худшими (по сравнению с устройствами на дискретных элементах) шумовыми характеристиками. Уровень шумов, приведенный ко входу, обычно не лучше 1 мкВ. Для ОУ К140УД8 он, например, составляет даже 3 мкВ. Во-вторых, указанные выше коэффициенты усиления ОУ имеют только на постоянном токе и на очень низких частотах — десятки и сотни герц. С ростом же частоты максимальный допустимый коэффициент усиления каскада на ОУ довольно быстро падает.

Рис. 2. Амплитудно-частотная характеристика операционного усилителя (а),
подключение двойного Т-моста к усилителю на ОУ (б)

Рис. 3. Амплитудно-частотная характеристика:
а — двойного Т-моста; б — усилителя с Т-мостом и без него
На рис. 2, а показана амплитудно-частотная характеристика операционного усилителя К140УД8 (она типична для ряда ОУ с внутренней коррекцией). Видно, что в усилителе с полосой пропускания около 3 кГц максимально допустимый коэффициент усиления составляет всего 1000 (60 дБ). Таким он и был выбран для каскада на ОУ в этом приемнике. С учетом усиления предварительного каскада общий коэффициент усиления тракта звуковой частоты приемника составляет около 70 000.
Постоянное смещение на выходе ОУ (равное примерно половине напряжения источника питания) задает делитель на резисторах
1-R7 и 1-R8. Коэффициент усиления этого каскада определяет отношение сопротивлений резисторов
1-R14 и 1-R9. Включенный в цепь отрицательной обратной связи конденсатор
1-С15 дополнительно ослабляет высокие частоты на выходе приемника.
Нагрузку — головные телефоны подключают через разделительный конденсатор (он установлен вне платы, см. рис. 5) к выводу
5. Для приемника лучше всего подойдут головные телефоны с сопротивлением излучателей 50...100 Ом (у них сопротивление катушек постоянному току будет соответственно 100...200 Ом, так как излучатели включены последовательно). Здесь можно применить и головные телефоны с излучателями сопротивлением 1600...2200 Ом, но в этом случае их следует включить параллельно, соблюдая полярность подключения,— она указывается на корпусах излучателей.
Для приема сигналов телеграфных радиостанций в условиях повышенных помех полосу пропускания каскада на ОУ
1-DA1 можно сузить подключением в цепь отрицательной обратной связи двойного Т-моста (резисторы
1-R11 — 1-R13, конденсаторы 1-С16—1-С18). С этой целью соединяют переключателем
SA1 (см. рис. 5) выход усилителя (вывод 5) с входом Т-моста (вывод
8). В упрощенной форме подключение Т-моста в цепь отрицательной обратной связи на операционном усилителе показано на рис. 2,
б.
Характерной особенностью двойного Т-моста является то. что на некоторой частоте (ее обычно называют частотой квазирезонанса) коэффициент передачи имеет минимум, а при определенных соотношениях между номиналами входящих в него конденсаторов и резисторов может быть очень близким к нулю. Так для двойного Т-моста, у которого емкости всех трех конденсаторов одинаковые, а сопротивление резистора в емкостной ветви в четыре раза меньше, чем двух остальных резисторов. У подобного моста коэффициент передачи на частоте квазирезонанса будет около
10-2.
Зависимость коэффициента передачи двойного Т-моста, использованного в этом приемнике, от частоты приведена на рис. 3,
а. Если четырехполюсник с такой АЧХ включен в цепь отрицательной обратной связи каскада на ОУ, как это показано на рис. 2,
б, то в первом приближении коэффициент передачи устройства будет определяться отношением сопротивления некоторого эквивалентного резистора к сопротивлению резистора
1-R9.

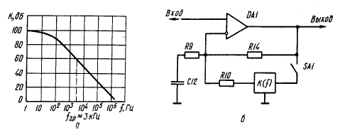
Рис. 4. Принципиальная схема гетеродина (а) и модификация гетеродина при использовании его в трансивере (б)
Легко видеть, что на частоте квазирезонанса, когда
К близок к нулю, коэффициент усиления каскада будет примерно такой же, как и в отсутствие Т-моста (т. е. равен отношению сопротивлений резисторов
1-R14 и 1-R9). На частотах, далеких от частоты квазирезонанса,
К близок к единице, и коэффициент усиления каскада заметно падает (примерно до отношения сопротивлений резисторов
1-R10 и 1-R9). Казалось бы, что для улучшения селективности имеет смысл уменьшать сопротивление резистора
1-R10. Однако это не так. Во-первых, при малых значениях сопротивления нагрузки (а для Т-моста
1-R10 — нагрузка) характеристики моста заметно ухудшаются. Этого можно было бы избежать, введя, например, между
1-R10 и Т-мостом эмиттерный повторитель. Но тогда заметно возрастет эквивалентная добротность моста, и полоса пропускания приемника с включенным фильтром сузится до неприемлемых на практике значений (менее 100 Гц). Иными словами, вариант, использованный в данном приемнике,
близок к оптимуму (во всяком случае, если иметь в виду простые схемные решения). Амплитудно-частотная характеристика тракта звуковой частоты (без фильтра низших частот) приведена на рис. 3,
б. Здесь же показана АЧХ тракта с подключенным двойным Т-мостом. За 0 дБ принят коэффициент передачи тракта, соответствующий максимуму АЧХ при отключенном фильтре.
Между предварительным и выходным усилителем имеется регулятор уровня сигнала звуковой частоты. Его подключают к выводам
9, 10, 11 платы.
Принципиальная схема платы гетеродина приведена, на рис. 4,
а. Генератор собран на транзисторе 2-VT1 по хорошо известной схеме, Обратим внимание лишь на несколько ее особенностей. Для уменьшения высокочастотного напряжения на контуре генератора (это уменьшает разогрев его элементов токами ВЧ и, следовательно, повышает температурную стабильность гетеродина) напряжение питания каскада выбрано относительно низким — менее 6 В. В гетеродине использован стандартный
блок конденсаторов переменной емкости от радиовещательного приемника (задействована только одна секция). Блок не подвергается каким-либо переделкам, а нужное перекрытие по частоте обеспечивают “растягивающие” конденсаторы
2-С1, 2-С2, 2-С4. Заметим, что поскольку смеситель приемника выполнен на встречно-параллельных диодах, то генератор работает на половинной (по сравнению с рабочей) частоте, т. е. перекрывает с некоторым запасом на краях диапазона участок 7000...7175 кГц. Резистор
2-RJ устраняет паразитное самовозбуждение генератора на низких частотах, определяемых индуктивностью дросселя
2-L2. Вместо обычного балластного резистора в цепи питания стабилитрона используется генератор стабильного тока на полевом транзисторе
2-VT2. Для приемника это не очень принципиально—его можно заменить резистором сопротивлением 330 Ом. Однако если гетеродин будет использоваться и в передающем тракте (в трансивере на основе этого приемника), то применение генератора стабильного тока в гетеродине улучшит динамические характеристики стабилизатора напряжения, уменьшит тем самым паразитную частотную манипуляцию генератора.
Высокочастотное напряжение с генератора поступает на двухступенчатый эмиттерный повторитель. Первый каскад работает в режиме класса А (транзистор
2-VT3), второй — в классе В (транзисторы 2-VT4 и 2-VT5).
Это позволяет заметно уменьшить мощность, выделяющуюся на выходных транзисторах (т. е. использовать здесь обычные транзисторы малой мощности). Для получения таких же нагрузочных характеристик в выходном каскаде, работающем в классе А, пришлось бы применять уже высокочастотный транзистор средней мощности, решать проблему
теплоотвода, да и температурного режима гетеродина.
Связь между генератором и повторителями — гальваническая. Смещение на базе транзистора
2-VT3 задано стабилитроном 2-VD1 (с незначительными поправками, обусловленными падением напряжения на резисторах
2-R1 и 2-R5). Напряжение смещения, приоткрывающее выходные транзисторы, задает резистор
2-R7.
Основное назначение резистора
2-R5—установка (предварительная) уровня выходного напряжения гетеродина таким, чтобы не перегружались транзисторы эмиттерных повторителей. Ослабляя сигнал в этом месте, мы дополнительно развязываем генератор от выхода устройства, улучшаем его нагрузочные характеристики.

Рис. 5. Схема межплатных соединений приемника

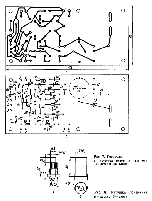
Рис. 6. Основной узел:
а — печатная плата; б—размещение деталей на плате
Подстроенным резистором
2-R10 в процессе налаживания приемника точно подбирается оптимальное напряжение гетеродина на диодном смесителе.
Если предполагается со временем превратить приемник в трансивер, то целесообразно сразу заложить в гетеродин возможность расстройки его частоты с помощью варикапа, а также предусмотреть дополнительный выход для передающего тракта. Измерения, которые необходимо внести в схему гетеродина, показаны на рис. 4,
б. Они в основном очевидны. Заметим лишь. что с вывода 6 стабилизированное напряжение поступает на переменный резистор, которым регулируют напряжение на варикапе.
Схема соединения плат между собой, а также с остальными элементами приемника, размещаемыми вне этих плат, показана на рис. 5.
На рис. 6 приведена печатная плата узла смесителя и усилителя звуковой частоты приемника, а на рис. 7 — печатная плата узла гетеродина (для трансиверного варианта). Эти платы разработаны под следующие детали: резисторы — МЛТ-0,25, конденсаторы — КМ и К50-6 (оксидные), подстроечный резистор — СПЗ-4, конденсатор переменной емкости — КПЕ от радиоприемника “Альпинист”, дроссель
2-L2 — стандартный корректирующий от лампового телевизора. Можно также применить дроссели серий Д и ДМ или самодельный. Катушка
1-L2 фильтра низших частот намотана на кольцевом ферритовом магнитопроводе типоразмера К20
X 12 X 6 из материала с начальной магнитной проницаемостью 3000, провод— ПЭВ-2 диаметром 0,1 мм, число витков — 430, индуктивность — примерно 350 мГн. Высокочастотный трансформатор намотан на кольцевом магнитопроводе типоразмера К7 х 4
X 2 из феррита с начальной магнитной проницаемостью 400...1000 (некритично). Намотка ведется сразу тремя проводами ПЭВ-2 диаметром 0,1...0,25 мм. Начало одной из обмоток соединяется с концом другой — это будет средняя точка вторичной обмотки. Оставшаяся обмотка используется как первичная.
Катушки 1-L1 и 2-L1
намотаны на полистироловых каркасах, чертежи которых приведены на рис. 8,
а. Они имеют по 17 витков провода ПЭВ-2 диаметром 0,4 мм. Подстроечники — из карбонильного железа (Мб
X 10). Эти катушки, помещенные в алюминиевые экраны (рис. 8,
б), должны иметь индуктивность 2,3 мкГн при среднем положении подстроечника (ввернут, в катушку наполовину).

Транзисторы структуры
п-р-п (1-VT1, 2-VT1, 2-VT3, 2-VT4) могут быть любые из серий КТ312, КТ342, КТ3102 и им аналогичных. Наиболее оптимальными для предварительного усилителя звуковых частот являются транзисторы КТ3102Е и КТ3102Г (с коэффициентом шума не более 4 дБ). В гетеродине можно использовать и транзисторы серии КТ315, но в любом случае коэффициент передачи тока (статический) должен быть не менее
100. Транзистор структуры
р-п-р в гетеродине (2-VT5) — КТ361. КТ3107 с любым буквенным индексом.

Операционный усилитель К140УД8А (или К140УД8Б — это несущественно) заменяется на любой ОУ с внутренней коррекцией. Разумеется вполне возможна замена и на ОУ с внешней коррекцией при соответствующих изменениях в схеме. В любом
случае замена операционного усилителя потребует изменений в печатной плате основного узла. Если будет использоваться ОУ, не имеющий полевых транзисторов на входе (например, К140УД7), то целесообразно взять резисторы
1-R7 и 1-R8 с сопротивлением не более 150 кОм и скомпенсировать уменьшение коэффициента усиления предварительного каскада подбором резистора
1-R4.
Полевой транзистор в генераторе стабильного тока
(2-VT2) должен иметь начальный ток стока не менее 15 мА. Здесь могут подойти отдельные экземпляры транзисторов КПЗОЗЕ (у них этот параметр лежит в пределах 5...30 мА) и транзисторы КП302 с любым буквенным индексом, кроме А (из этой серии подойдут лишь отдельные экземпляры, так как начальный ток стока у них может варьироваться в пределах от 3 до 24 мА). Диоды в смесителе— любые кремниевые высокочастотные (КД503, КД521 и т. д.). Стабилитрон
2-VD1 должен иметь напряжение стабилизации в пределах 5,5...6 В.
Схематично конструкция приемника показана на рис. 9.
Налаживание приемника можно производить поплатно. Подав на вывод
3 основной платы напряжение +12В, проверяют режимы активных элементов по постоянному току. Отклонения от приведенных на рис. 1 значений более чем на 20% будут свидетельствовать об ошибках в монтаже или о дефектах в примененных деталях. После этого целесообразно проверить сквозную АЧХ тракта звуковой частоты, подав сигнал от генератора
с выходным сопротивлением 600...1000 Ом на вход фильтра низших частот (в точку соединения
1-L2 и 1-С6). Поскольку коэффициент усиления тракта звуковой частоты приемника очень высокий, сделать это можно только в том случае, если в распоряжении радиолюбителя имеется генератор звуковых частот с малым уровнем фона. Уровень собственных шумов усилителя (при отключенном от смесителя
гетеродине), как уже отмечалось, должен быть около 20 мВ. Большие его значения свидетельствуют о том, что следует заменить транзистор
1-VT1.
Следующий этап — настройка платы гетеродина. Контролируя частоту гетеродина по частотомеру, контрольному приемнику или иным способом, устанавливают пределы его перестройки. Для этого при минимальной емкости КПЕ подстроечником катушки
2-L1 добиваются частоты генерации на 10...20 кГц выше значения 7175 кГц. Переведя ротор конденсатора в положение, соответствующее максимальной емкости, проверяют
частоту генерации. Если она окажется несколько ниже 7000 кГц, то установку границ диапазона на этом можно завершить. Если же она выше 7000 кГц, то устанавливают конденсатор
2-С1 меньшей емкости и повторяют описанную процедуру снова. Установку границ можно заметно ускорить, если вместо
2-С1 установить подстроечный конденсатор с воздушным диэлектриком. Использовать подстроечные конденсаторы типа КПК или КПК-М не следует. Они имеют низкую температурную стабильность и могут заметно ухудшить характеристики гетеродина. После замены конденсатора
2-CJ каждый раз необходимо делать паузу для стабилизации температурного режима конденсатора, перегретого при пайке.
если в гетеродине применен генератор стабильного тока, то перед налаживанием генератора необходимо подобрать резистор
2-R3 таким, чтобы суммарный ток через полевой транзистор (генератор плюс стабилитрон) был около 15 мА.
Сорвав тем или иным способом генерацию гетеродина, подбором резистора
2-R7 добиваются, чтобы ток через транзисторы 2-VT4
и 2-VT5 был примерно 2 мА. Затем восстанавливают работу генератора и подбором резистора
2-R5 устанавливают высокочастотное напряжение на выходе гетеродина (движок
2-R10 в верхнем по схеме положении) примерно 1 В (эффективное значение). После этого можно проверить нагрузочные характеристики гетеродина: изменение нагрузки от режима холостого хода до 50 Ом не должно изменять частоту генерации более чем на 50 ... 70 Гц.
Теперь платы приемника следует установить в корпус (один из возможных вариантов показан на рис. 9) и провести комплексное налаживание приемника. Первая проверка работоспособности приемника — увеличение уровня шумов на выходе, при подаче высокочастотного напряжения гетеродина на смеситель. Шумы
должны возрасти примерно в два раза. Настроившись на какую-нибудь любительскую радиостанцию, подбирают оптимальное напряжение гетеродина (по максимальной ее громкости). Необходимо отметить, что эта
регулировка достаточно критична: при малых и больших уровнях существенно падает коэффициент передачи смесителя. Заключительный этап — подстройка входного контура
1-L1.
Двойной Т-мост обычно не требует налаживания. Если окажется, что коэффициенты передачи, соответствующие максимуму АЧХ с включенным и выключенным мостом, заметно отличаются, то следует подобрать резистор
1-R13. Изменение номинала этого резистора несколько изменяет резонансную частоту и в значительно большей степени — коэффициент передачи. Это обусловлено не только изменением АЧХ двойного Т-моста, но и его фазово-частотной характеристики.