Конвертер на 1260 МГц

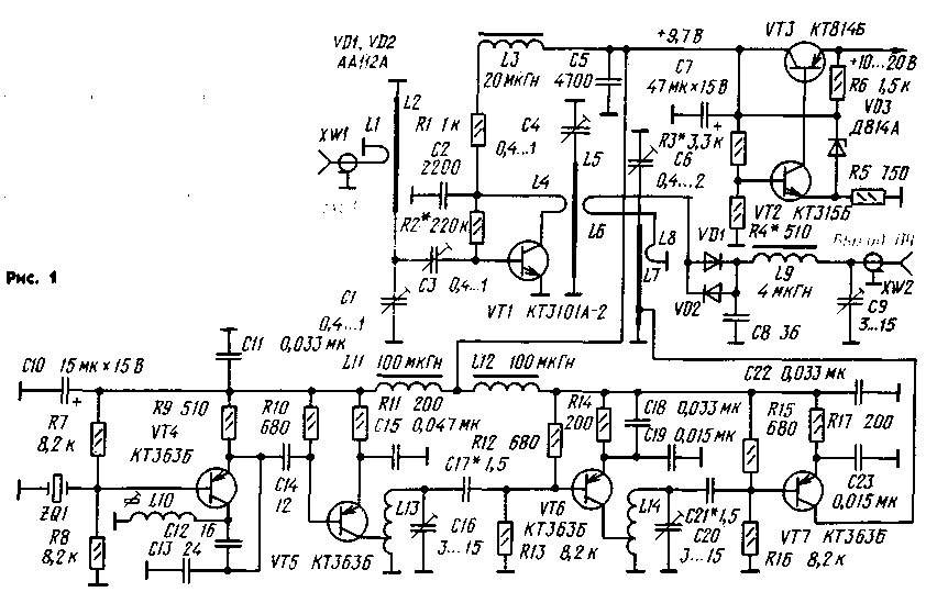
Появление малошумящих СВЧ транзисторов и диодов позволило существенно упростить конструкцию конвертера, предназначенного для переноса сигналов любительских радиостанций с частот диапазона 1260 МГц в диапазон 28 МГц. Конвертер состоит (рис. 1) из усилителя ВЧ, смесителя, СВЧ-гетеродина с кварцевой стабилизацией частоты и стабилизатора питающего напряжения.
knv12601

knv12601

Усилитель ВЧ - резонансный, выполнен на транзисторе VT1. Входная цепь состоит из петли связи L1, индуктивно связанной с четвертьволновой полосковой линией L2, образующей с конденсатором С1 колебательный контур. На базу транзистора VT1 сигнал поступает через под-строечный конструктивный конденсатор СЗ. Это позволяет легко изменять глубину связи при настройке усилителя и оптимизировать его шумовую характеристику.

Для термостабилизации режима работы усилителя введена обратная связь по постоянному току через резистор R2. Его выбирают таким образом, чтобы напряжение на конденсаторе С2 было около 5 В.

Транзистор VT1 нагружен контуром, образованным четвертьволновой полосковой линией L5 и конденсатором С4. Смеситель выполнен на двух встречно-параллельно включенных диодах VD1, VD2 [Л]. Он индуктивно связан и с гетеродином, и с усилителем ВЧ. Нагрузкой смесителя служит фильтр ПЧ C8L9C9. Его добротность невелика, около четырех (при сопротивлении нагрузки 75 Ом). На смесители такого типа подают напряжение "половинной" частоты гетеродина, что позволило упростить последний.

Гетеродин состоит из задающего генератора на транзисторе VT4, утроителя (VT5) и удвоителя (VT7) частоты, усилителя (VT6). Задающий генератор выполнен по типовой схеме на транзисторе с заземленной по переменному току через кварцевый резонатор базой. Кварц возбуждают на 7-й механической гармонике. С выхода генератора напряжение частотой 105,666 МГц через конденсатор С14 подается на утрои-тель частоты. Транзистор в этом каскаде работает в режиме класса С. Его нагрузкой является частично включенный параллельный контур L13C16, настроенный на частоту 317 МГц. Чтобы получить запас по мощности, в гетеродин введен усилитель на транзисторе VT6. К выходу этого усилителя подключен удвоитель частоты на транзисторе VT7. Выделенные контуром L7C6 колебания частотой 634 МГц через петлю связи 1.8 подаются в смеситель. Преобразованный сигнал через П-фильтр поступает на выход конвертера.

На транзисторах VT2, VT3 собран стабилизатор напряжения питания. К его достоинствам следует отнести возможность работы при малых перепадах напряжения между входом и выходом (0,2...0,3 В) и наличие автоматической защиты от замыканий в нагрузке.

 

 

Конвертер смонтирован (см. рис. 2) в алюминиевом корпусе размерами 115Х60Х X 23 мм. Детали размещены на трех платах из фольгированного стеклотекстолита толщиной 1,5 мм. На одной плате (рис. 3) размещены элементы гетеродина (исключая кварцевый резонатор). На рис. 3,а дорожки на плате показаны со стороны деталей. На второй плате (она прикреплена к крышке конвертера, на рис. 2 ее нет) находятся детали стабилизатора. На третьей плате (она расположена фольгой вверх) распаяны элементы усилителя ВЧ и смесителя (рис. 4) в местах соединения деталей над платой точки не поставлены). К ней припаяны перегородки (высотой около 20 мм) из медной или латунной фольги толщиной 0,1...0,2 мм, и на ней же закреплена плата гетеродина. В перегородки в нужных местах впаяны проходные стеклянные изоляторы от пришедших в негодность стабилитронов серии Д814 или конденсаторов К53-1, К53-4. На таких же изоляторах крепят смесительные диоды и петли связи. Питание подают через проходной конденсатор.

В конвертере использованы резисторы МЛТ-0,125, постоянные конденсаторы КМ-4, К53-1, подстроечные (кроме С1, СЗ, С4) - любые, например, КТ4-21, С1, СЗ, С4- конструктивные. Жесткая конструкция полосковой линии показана на рис. 5. Ее изготавливают из медной трубки 2 или проволоки диаметром 3 мм. Заготовку сплющивают на определенной длине и сгибают в виде буквы U, как показано на рисунке. Конец линии, не соединенный с общим проводом (фольгой платы 1), поддерживается вставленным в распор между концами резистором 6 (МЛТ-0,125 сопротивлением не менее 510 кОм). "Основание" линии по всей длине припаяно к плате.

Длина горизонтальной части у линий L2, L5 - 32 мм, L7-70 мм. К концам трубок, не соединенным с общим проводом, припаяна изогнутая полоска 5 размерами 5Х10 мм из медной фольги толщиной 0,1...0,15 мм, которая с ответной полоской, прикрепленной через стеклянный изолятор 4 (для СЗ) или припаянной (для остальных конструктивных конденсаторов) к перегородке 3, образуют подстроечные конденсаторы.

Петли связи L1, L4, L6, L8 изготовлены из медного провода ПЭВ-2 0,8. Зазор между петлей и линией - около 2 мм. Длина "активной" части петель LI-16, L4-10, L6-12 и L8-28 мм.

Катушка L10 содержит 6 витков провода ПЭВ-2 0,31, намотанного виток к витку на каркасе с внешним диаметром 4 мм, имеющим внутреннюю резьбу МЗ. Подстроеч-ник изготовлен из латуни. Катушки L13 и 114-бескаркасные (намотаны на оправке диаметром 4 мм), имеют по 3 витка голого провода диаметром 0,8 мм. Длина намотки - 8 мм. Отвод сделан от 1-го витка, считая от конца, который соединяют с общим проводом. В качестве дросселя L9 можно применить любой высокочастотный индуктивностью 4 мкГн. Дроссели 13, L12 и Ш-ДМ-0,1.

Блокировочный конденсатор С2 устанавливают на плату без выводов (их удаляют заранее, а место пайки выводов к пластине конденсатора зачищают от краски). К нему припаивают петлю связи L4 и резисторы R), R2. Между линиями L2 и L5 обязательно должна быть перегородка. Резистор R13 и конденсатор С22 установлены на печатной плате со стороны фольги (на рис. 3 они не показаны).

Транзистор КТ3101А-2 заменим на КТ3115А-2, КТ391А-2. Вместо транзистора КТ363Б (VT7) желательно использовать транзистор с граничной частотой не менее 1,5.-.2 ГГц, например, КТ3123. Диоды VD1, VD2 - любые смесительные СВЧ диоды.

После сборки конвертера и проверки монтажа подают питание и проверяют значение стабилизированного напряжения. При необходимости подбирают один из резисторов R3 или R4 таким образом, чтобы стабилизированное напряжение было в пределах 9,5...9,7 В. Потребляемый ток не должен превышать 40 мА.

Затем настройкой контура L10C12C13 добиваются генерации кварцевого генератора. Это можно определить по падению напряжения на резисторе R11 утроителя частоты (оно должно быть в пределах 0,8... 1 В). Подключив (через конденсатор емкостью 1 ...2 пФ) к эмиттеру транзистора VT4 частотомер, следует проконтроливать частоту генерации. В случае необходимости корректируют по общепринятой методике частоту кварцевого резонатора.

После этого последовательной настройкой контуров L13C16 и L14C20 добиваются максимального (0,8...1 В) падения напряжения на резисторах R14 и R17, что соответствует настройке в резонанс контуров предыдущих каскадов. Точная настройка кснтура L7C6 определяется по некоторому уменьшению напряжения на резисторе R17. После этого, подбирая резистор R2, добиваются, чтобы напряжение на конденсаторе С2 было равно 5 В.

Подключив микроамперметр к гнезду "Выход ПЧ" и отпаяв один из диодов смесителя, регулировкой связи смесителя с гетеродином (приближая или удаляя петлю L8) добиваются, чтобы ток в цепи был в пределах 50... 100 мкА. После этого диод припаивают на место.

Присоединив конвертер к приемнику, имеющему диапазон 28 МГц, вставляют в его входное гнездо короткий отрезок провода. Затем устанавливают рядом и включают передатчик диапазона 144 или 430 МГц, и пытаются принять 9-ю гармонику первого или 3-ю второго. Желательно при этом точно знать эти частоты, чтобы вычислить частоту преобразованного сигнала и настроить на нее приемник. Подстраивая контуры в усилителе ВЧ и изменяя связи в нем, добиваются наилучшей слышимости сигнала. Окончательную настройку желательно провести по общепринятой методике с использованием генератора шума - промышленного или самодельного.

Налаженный конвертер должен иметь коэффициент усиления 6...8 дБ, а коэффициент шума - 4...5 кТ. Нужно отметить, что из-за небольшого усиления конвертера основной приемник может вносить значительный вклад в уровень шума системы, поэтому желательно, чтобы его коэффициент шума не превышал 4...6 кТ.

Если радиолюбитель собирается подключать конвертер к приемнику с диапазоном 144 МГц, то следует изменить частоту гетеродина, сделав ее равной 576 МГц. При этом перед удвоителем частоты в гетеродине должна быть частота 288 МГц, которую можно "ответвить" и использовать в конвертере на диапазон 430 МГц, что позволит минимизировать массу и объем комплекса УКВ аппаратуры, а также затраты на ее изготовление.

А. ЕРМАК (RB5LFS), Г. ЧУИН (UB5LER) г. Харьков

ЛИТЕРАТУРА

Поляков В. Смеситель приемника прямого преобразования.- Радио, 1976, № 12, с. 18-19.

Обсудить эту статью на форуме (0 ответов).
Вся информация, предоставленная на данном ресурсе разрешена к ознакомлению детям школьного возраста. Все практическое использование может быть связана с повышенной электрической опасностью и разрешено детям только под присмотром взрослых.