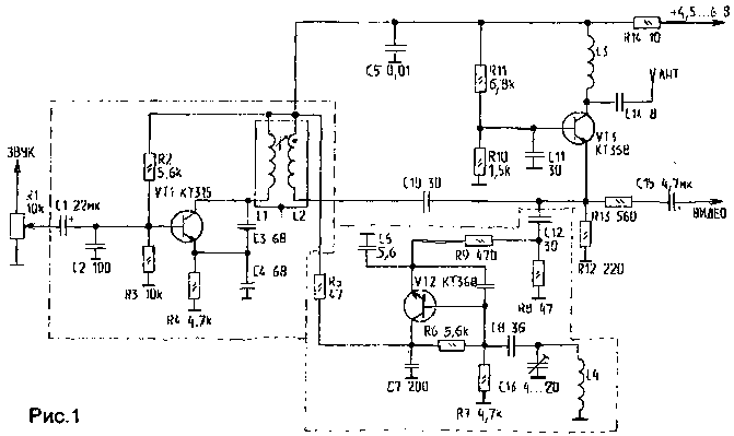
Предлагаю вниманию читателей простои передатчик видеопрограмм. Его можно подключить к любому видеомагнитофону или компьютеру по НЧ-выходу. Работает передатчик в метровом диапазоне (5...9 канал), напряжение питания составляет 4,5...6 В. Схема передатчика приведена на рис. 1.
На транзисторе VT1 собран смеситель-генератор с ЧМ преобразованием звуковой частоты 5,5 МГц (6,5 МГц). Частота гетеродина зависит от емкостей С4, С5 и индуктивностей L1, L2. На VT2 выполнен гетеродин несущей, частота которого зависит от выбора телевизионного канала. Ha R12 происходит смешивание видеосигнала, ЧМ звука и несущей необходимого канала. Далее на VT3 сигнал усиливается и передается в антенну.
Необходимый уровень 3Ч устанавливается резистором R1. LI, L2 намотаны на катушке от импортного радиоприемника, в которой элементом настройки является ферритовая чашечка. L1 содержит 23 витка провода ПЭЛ-0,1; L2 - 24 витка того же провода.

L3, L5 намотаны на оправке 4 мм и содержат по 5 витков провода ПЭЛ-0,35. L4 - оправка 4 мм, содержит 4 витка провода ПЭЛ-0,35, намотанных виток к витку. После настройки эту катушку желательно залить парафином. В качестве антенны можно использовать отрезок медного провода длиной 20...50 см или телескопическую антенну от любого радиоприемника.
При правильной сборке конструкция начинает работать сразу. Необходимо при включении телевизора настроить его на нужный канал (в моем случае - TV-6). Настройка производится элементами С 13 и L4. Далее необходимо настроить элементами L1, L2 (СЗ) несущую звукового сопровождения на более качественный прием телевизором звукового сигнала.
Если вам покажется недостаточной мощность передатчика, можно собрать схему усилителя, приведенную на рис.4. Только при этом придется изменить чертеж печатной платы и вместо С14 установить подстроечный конденсатор, который в дальнейшем будет настраиваться в резонанс по максимуму передаваемого сигнала. Дополнительная информация по настройке этого каскада дана в [1]. В заключение хочу отметить, что данный передатчик был испытан на телевизорах 4-го и 5-го поколений и показал хороший результат. Его мощности вполне достаточно для квартиры. Радиус действия - 5...8 м,он может быть увеличен при использовании дополнительного каскада УМ.
Литература
1. Ф.Жупанов. Как построить простейшии ТB-ретранслятор.//Радиолюбитель.-1994.-М 7.-С.4-5.