Имитатор звука выстрела

Иногда необходимо получить имитацию звука выстрела (в электронном тире, различных игрушках и т. п.). Относительно несложное электронное устройство позволяет имитировать звук выстрела из огнестрельного оружия.

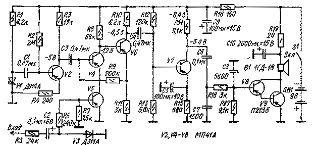
На диоде V1 собран генератор шумового сигнала. Усиленный транзистором V2, этот сигнал поступает на управляемый усилитель (транзисторы V4 и V6). На транзисторе V5 собрано ключевое устройство.

В исходном состоянии транзистор V5 закрыт, и сигнал на выходе управляемого усилителя отсутствует. Как только на вход поступит импульс прямоугольной формы (полярность отрицательная), транзистор V5 откроется и на определенный промежуток времени откроет управляемый усилитель. На входе транзистора V5 включена дифференцирующая цепь R5C2 V3R6 R7, которая определяет форму огибающей шумового сигнала на выходе управляемого усилителя.

Сформированный таким образом сигнал через усилитель напряжения (транзистор V7) и фильтр 34 (С6С7 R16C8) поступает на выходной каскад усилителя мощности (составной транзистор V8, V9). Фильтр подавляет частоты выше 5 кГц.

Никаких особых требований к элементам имитатора не предъявляется, желательно лишь конденсатор С2 выбрать с возможно меньшим током утечки (К53-1).

Налаживание имитатора начинают с установки режима транзисторов (указан на схеме) по постоянному току, для чего необходимо предварительно замкнуть эмиттер и коллектор транзистора V5. Подбором резистора R1 устанавливают максимальный уровень шума в громкоговорителе В1. Затем снимают перемычку с транзистора V5 и припаивают ее к выводам конденсатора С2, а вход имитатора соединяют с минусовым выводом батареи питания. Резистор R6 подбирают таким, чтобы напряжение на коллекторе транзистора V5 было в пределах 0,08...0,1 В, так как этот транзистор должен быть в насыщении. После этого снимают все перемычки и на вход подают импульс - выстрел.

Обсудить эту статью на форуме (0 ответов).
Вся информация, предоставленная на данном ресурсе разрешена к ознакомлению детям школьного возраста. Все практическое использование может быть связана с повышенной электрической опасностью и разрешено детям только под присмотром взрослых.