Синхронный AM приемник

Применение синхронного детектора в AM приемнике позволяет значительно повысить качество демодуляции сигнала, исключив искажения, обусловленные нелинейностью обычного детектора огибающей. Одновременно снижается уровень шумов, уменьшаются помехи от соседних станций. Последние не детектируются синхронным детектором, а лишь преобразовываются по частоте, поэтому при расстройке более 10...20 кГц мешающие сигналы оказываются в плохо слышимой и легко отфильтровываемой ультразвуковой области спектра. Синхронный детектор дал также возможность расширить полосу воспроизводимых частот до 10 кГц, т. е. полностью реализовать спектр модулирующих сигналов, передаваемых радиостанциями в эфир.

Основные технические характеристики
Чувствительность (при выходной мощности 50 мВт), мВ/м, не хуже ....1
Диапазон воспроизводимых частот, Гц ................................... 50...10 000
Селективность при расстройке ╠20 кГц, дБ, не менее .......................... 26

www.radio-portal.ru__PR13

 

Питается приемник от источника напряжением 12...15 В, потребляемый ток (при малой громкости) не превышает 40 мА.
В описываемом варианте приемник рассчитан на прием передач радиостанций, работающих на частотах 549, 846, 873 и 918 кГц. Изменив емкости конденсаторов и (или) числа витков магнитной антенны и катушки гетеродина, приемник можно настроить на частоты других радиостанции диапазонов СВ и ДВ.
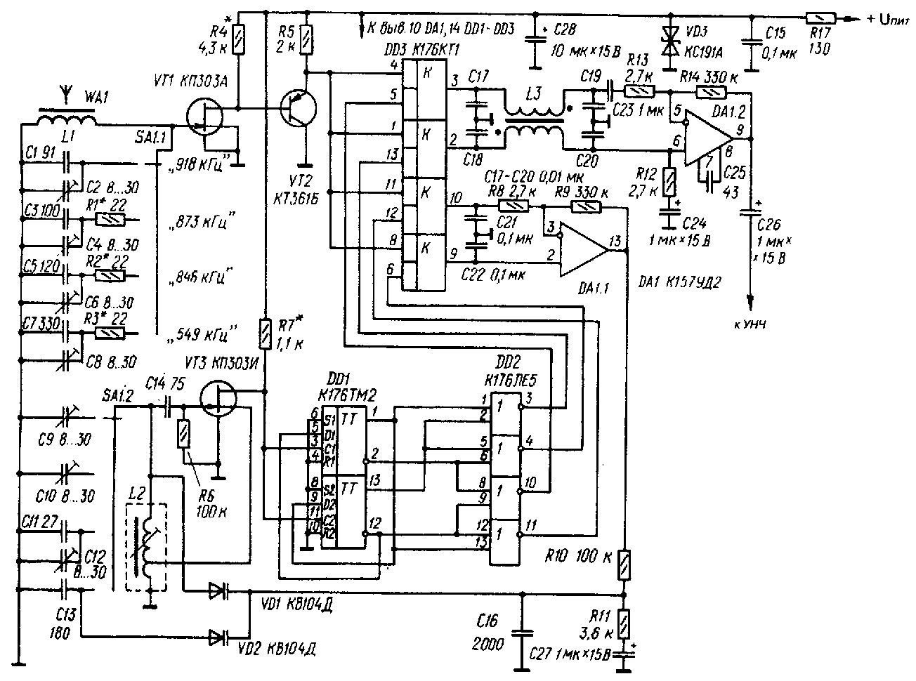
Принципиальная схема приемника приведена на рисунке. Прием ведется на встроенную магнитную антенну WA1. Входной контур состоит из катушки L1 и подключаемых к ней конденсаторов С1≈С8, для точной настройки на частоты выбранных радиостанций служат подстроечные конденсаторы С2, С4, С6, резисторы R1 ≈ R3 снижают добротность контура магнитной антенны, расширяя его полосу пропускания примерно до 20 кГц.
Усилитель радиочастоты (РЧ) собран на транзисторах VT1, VT2 и служит не столько для усиления сигнала, сколько для согласования относительно высокого резонансного сопротивления колебательного контура магнитной антенны с низким входным сопротивлением ключевого смесителя. Кроме того, усилитель РЧ защищает входной контур от проникновения радиочастотного напряжения со стороны цифровой части приемника.
Гетеродин собран на полевом транзисторе VT3 и настроен (в каждом положении переключателя SA1) на учетверенную частоту принимаемого сигнала. В контур гетеродина входит катушка L2, подсоединяемые секцией SA1.2 переключателя конденсаторы С9 ≈ С13 и варикап VD1, подстраивающий его точно на учетверенную частоту сигнала.
Со стока транзистора VT3 сигнал гетеродина подается на цифровой делитель частоты на четыре, собранный на триггерах микросхемы DD1
(как показала практика, триггеры серии К176 нормально работают при частоте входного сигнала до 4 МГц). На выходах триггеров формируется четырехфазное (0, 180, 90 и 270╟) напряжение с частотой принимаемого сигнала. Оно имеет прямоугольную форму и скважность (отношение периода к длительности импульса), равную 2. Логическая микросхема DD2 формирует импульсы со скважностью 4, поочередно открывающие ключи балансных смесителей, собранных на микросхеме DD3. Сигнальные входы ключей соединены вместе, и на них подается напряжение принимаемого сигнала с выхода усилителя РЧ. Два нижних по схеме ключа образуют балансный смеситель (фазовый детектор) системы фазовой автоподстройки частоты (ФАПЧ). Он вырабатывает напряжение ошибки, пропорциональное отклонению сдвига фаз между напряжениями сигнала и гетеродина от 90╟. Напряжение ошибки сглаживается конденсаторами С21 и С22, усиливается операционным усилителем DA1.1 и через пропорционально-интегрирующий фильтр R10R11C27 поступает на варикапы VD1, VD2, подстраивая частоту гетеродина.
Если при включении приемника или переключении настроек частота сигнала находится в пределах полосы захвата, система ФАПЧ захватывает его, устанавливая точное равенство частот и фазовый сдвиг сигналов на входах смесителя 90╟. При этом на входах балансного смесителя, образованного двумя верхними (по схеме) ключами, фазы сигналов совпадают, что и необходимо для синхронной демодуляции AM колебаний.
Демодулированный сигнал звуковой частоты (ЗЧ) с выхода синхронного детектора поступает на симметричный фильтр нижних частот (ФНЧ) L3C17≈С20 с частотой среза 10 кГц. Этот фильтр, определяющий селективность приемника, ослабляет сигналы соседних по частоте радиостанций, которые после преобразования в детекторе попадают в ультразвуковую область частот. Для упрощения конструкции обе катушки симметричного фильтра размещены на одном магнитопроводе, что вполне допустимо при соблюдении порядка подключения их выводов, показанного на схеме. Связанное с этим некоторое уменьшение ослабления синфазных помех не имеет значения, поскольку они хорошо подавляются операционным усилителем DA1.2, на котором собран предварительный усилитель ЗЧ. Цепь R12C24 выравнивает входные сопротивления инвертирующего и неинвертирующего входов ОУ.
Детали и конструкция. Магнитная антенна приемника выполнена на круглом магнитопроводе диаметром 8 и длиной 160 мм из феррита марки 600НН. Катушка L1 содержит 52 витка провода ЛЭШО 21x0,07, намотанного виток к витку на склеенной из кабельной бумаги гильзе. Для катушки гетеродина L2 (8+24 витка провода ПЭЛ 0,15) использована унифицированная арматура от фильтров ПЧ портативных приемников. Катушка L3 ФНЧ (2X130 витков провода ПЭЛ 0,15) намотана в два провода на феррито-вом (2000НМ) кольце типоразмера К16X8X5.
Во входном и гетеродинном контурах приемника применены конденсаторы КТ-1 и подстроенные конденсаторы КПК-М. Остальные конденсаторы КЛС и К50-6. Постоянные резисторы любые малогабаритные. Вместо транзистора КП303А в усилителе РЧ можно использовать и другие транзисторы этой серии, если в цепь истока включить резистор автоматического смешения, шунтированный конденсатором емкостью 0,01...0,5 мкф (транзистор КП303А цепи смешения не требует, так как у него достаточно мало напряжение отсечки). Транзистор VT2 ≈ любой высокочастотный структуры p-n-р. С таким же успехом в этом каскаде будет работать и высокочастотный транзистор структуры n-p-п (например, серии КТ315), если его коллектор соединить с проводом питания, а эмиттер (через резистор R5) с общим проводом. Гетеродин можно собрать на транзисторе КПЗОЗА. Сопротивление резистора R7 в этом случае необходимо увеличить до 1,8...2,2кОм.
Микросхему К176ТМ2 (DD1) можно заменить на К176ТМ1. При отсутствии микросхемы К176ЛЕ5 можно обойтись без нее. В этом случае выходы триггеров делителя частоты (DD1) соединяют непосредственно с управляющими входами балансных смесителей (DD3), а в выходные цепи ключей (выводы 2, 3, 9 и 10) включают резисторы сопротивлением 2,2 кОм (иначе одновременное открывание двух ключей нарушит работу балансных смесителей). Следует, однако, учесть, что из-за введения этих резисторов коэффициент передачи смесителей несколько снизится. Для автоподстройки можно использовать и другие варикапы серии КВ104. Стабилитрон VD3 ≈ любой с напряжением стабилизации 9 В.
Конструкция приемника может быть любой, необходимо только позаботиться о том, чтобы длина проводов, соединяющих плату с переключателем SA1, была минимальной, а магнитная антенна располагалась возможно дальше от цифровых микросхем.
Налаживание приемника начинают с измерения напряжения на эмиттере транзистора VT2 усилителя РЧ. Оно должно быть около 4,5 В. При необходимости этого добиваются подбором резистора R4. Затем с помощью осциллографа проверяют работу гетеродина и цифровой части приемника. На истоке транзистора VT3 должно быть напряжение синусоидальной формы, на выходах триггеров микросхемы DD1 ≈ прямоугольной со скважностью 2 , а на выходах микросхемы DD2 ≈ такой же формы, но со скважностью 4. Если гетеродин генерирует, а триггеры не переключаются, необходимо подобрать резистор R7. Режимы работы ОУ проверяют, измеряя напряжение на выводах 9 и 13 микросхемы DA1: на первом из них оно должно быть равно 4,5 В, а на втором ≈ в пределах 3...7 В. Если ОУ DA1.1 вошел в насыщение (напряжение на выводе 13 близко к нулю или к напряжению питания), необходимо проверить работу цифровой части приемника и при необходимости сбалансировать усилитель, включив резистор сопротивлением несколько мегаом между инвертирующим входом (вывод 3) и общим проводом пли проводом питания +9 В.
Далее настраивают приемник на частоты радиостанций. Это можно сделать, подавая радиочастотное напряжение от генератора стандартных сигналов через петлю связи на магнитную антенну или просто принимая сигналы радиостанций. Настройку начинают с самой длинноволновой радиостанции (549 кГц). Вращая подстроечник катушки L2, находят станцию по характерному свисту и, перестраивая гетеродин в сторону понижения его высоты, добиваются захвата частоты системой ФАПЧ (биения звуковой частоты при этом пропадают, и передача прослушивается чисто, без искажений). Входной контур подстраивают конденсатором С8 по максимальной громкости приема. Аналогично настраивают приемник и при других положениях переключателя SA1, но подстроечник катушки L2 больше не трогают (частоту гетеродина устанавливают подстроечными конденсаторами С9, С10 и С12).
При наличии наводок сигнала гетеродина на магнитную антенну настройка приемника осложняется. Дело в том, что фаза напряжения наводки непредсказуема и, кроме того, зависит от настройки входного контура. Синхронно детектируясь в смесителе системы ФАПЧ, напряжение наводки сдвигает частоту гетеродина, поэтому настройки входного и гетеродинного контуров оказываются взаимосвязанными. Этот вредный эффект практически не проявляется, если напряжение принимаемого сигнала на магнитной антенне больше напряжения наводок.

Обсудить эту статью на форуме (0 ответов).
Вся информация, предоставленная на данном ресурсе разрешена к ознакомлению детям школьного возраста. Все практическое использование может быть связана с повышенной электрической опасностью и разрешено детям только под присмотром взрослых.