- Спасибо получено: 0
Питание предусилителя
- kkvchel
-
Автор темы
Less
Больше
22 сен 2010 08:50 #16
от kkvchel
kkvchel ответил в теме Питание предусилителя
Вот этот стабилизатор я думаю подойдет? И еще непонятно по схеме: 8 вывод соединяется с R1 и R2? Второй вывод R3 куда идет? (просто рисунок не очень качественный)? И я думаю вместо ЕН5 можно ЕН8 применить?
Вложения:
Пожалуйста Войти или Регистрация, чтобы присоединиться к беседе.
- STAS
-
- Не в сети
Less
Больше
- Сообщений: 173
- Спасибо получено: 1
22 сен 2010 09:16 - 22 сен 2010 09:34 #17
от STAS
STAS ответил в теме Питание предусилителя
Да схема стабилизации сложнее схемы предусилителя :mrgreen: Возьми Кренку 5ую или 8ую на напряжение 9 вольт (щас не помню скакой буквой нету под рукой справочника) кладешь ее на стол железячкой вниз левый вывод (17)к +су твоего БП , средний (2)к - су БП, а правый (
к + вместо батарейки и средний (2)к -су вместо батарейки и НИКАКОЙ ТАМ ОБВЯЗКИ :mrgreen:
P.S. от нашел те подойдет только КР142 ЕН8 (А,Г)-9Вольт
P.S. от нашел те подойдет только КР142 ЕН8 (А,Г)-9Вольт
Последнее редактирование: 22 сен 2010 09:34 пользователем STAS.
Пожалуйста Войти или Регистрация, чтобы присоединиться к беседе.
- STAS
-
- Не в сети
Less
Больше
- Сообщений: 173
- Спасибо получено: 1
22 сен 2010 09:31 #18
от STAS
STAS ответил в теме Питание предусилителя
Если найдешь КР142 ЕН12 можеш сделать регулируемый стабилизатор с напр.от 1.3 до 37Вольт
Вложения:
Пожалуйста Войти или Регистрация, чтобы присоединиться к беседе.
- kkvchel
-
Автор темы
Less
Больше
- Спасибо получено: 0
22 сен 2010 09:54 #19
от kkvchel
kkvchel ответил в теме Питание предусилителя
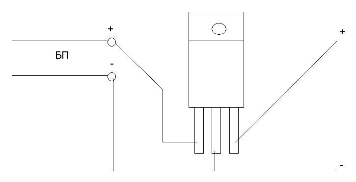
Вот так? И еще. Куда все таки девать землю предусилителя? Просто на корпус кинуть?
Вложения:
Пожалуйста Войти или Регистрация, чтобы присоединиться к беседе.
- kkvchel
-
Автор темы
Less
Больше
- Спасибо получено: 0
22 сен 2010 09:56 #20
от kkvchel
kkvchel ответил в теме Питание предусилителя
Сложно у нас с ними((viper2 пишет: Если найдешь КР142 ЕН12 можеш сделать регулируемый стабилизатор с напр.от 1.3 до 37Вольт
Пожалуйста Войти или Регистрация, чтобы присоединиться к беседе.
Модераторы: Doc