- Спасибо получено: 0
Нужна помощь в переработке схемы
- MKsoft
-
Автор темы
Less
Больше
16 апр 2007 21:13 #1
от MKsoft
MKsoft создал тему: Нужна помощь в переработке схемы
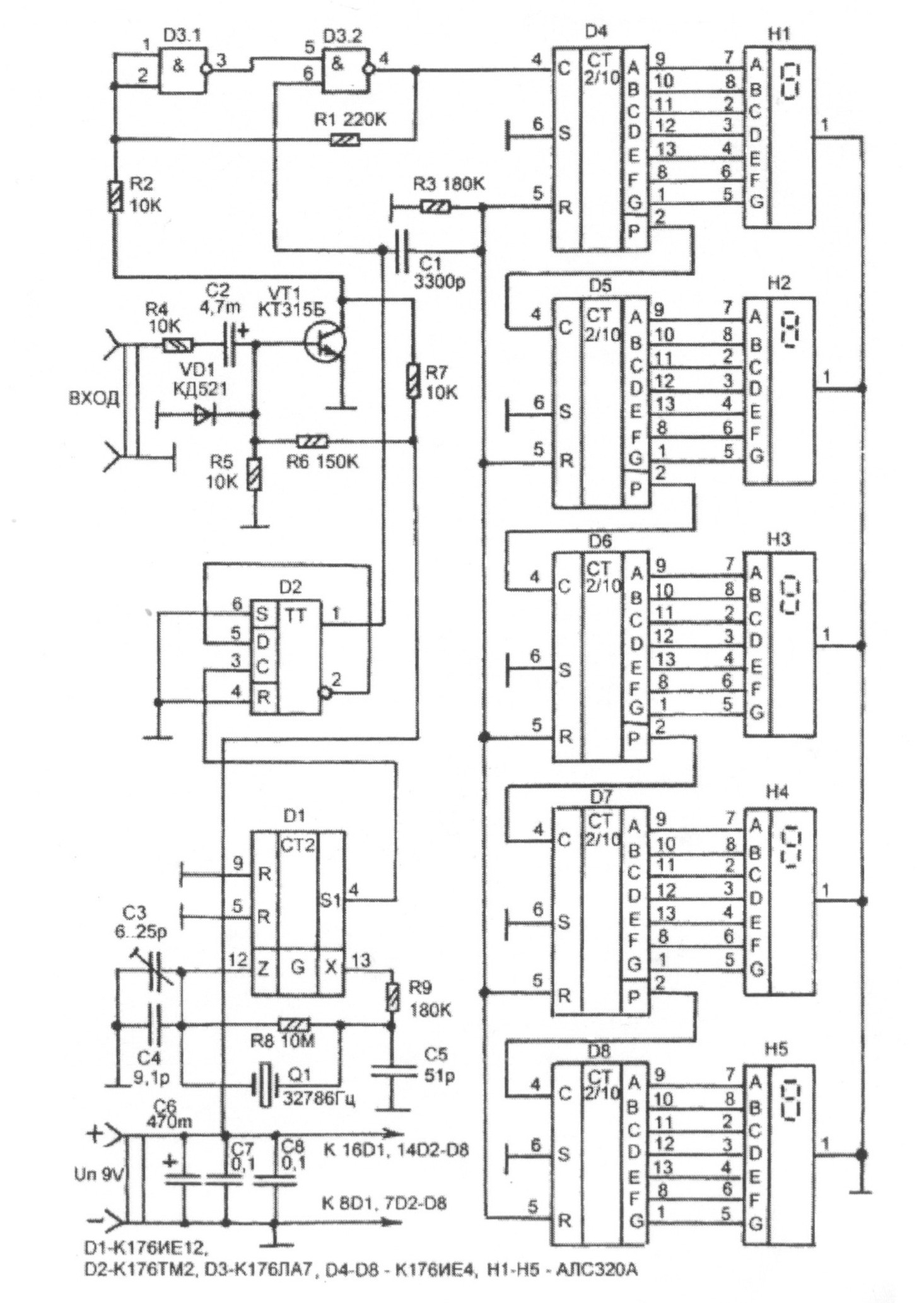
Короче вот на этой схеме частотомер от 1 до 99999Гц, Амплитуда выходного сигнала от 0,05 до 15 В кварц 32786Гц надо сделать от 5 до 120Гц , Погрешность измерения 2%, Амплитуда входного сигнала 100мВ и на кварце 50кГц, вход усилить с помощью операционника(вместо транзистора)
Вложения:
Пожалуйста Войти или Регистрация, чтобы присоединиться к беседе.
- Doc
-
- Не в сети
17 апр 2007 07:47 #2
от Doc
Малое знание опасно, впрочем, как и большое....
Doc ответил в теме Нужна помощь в переработке схемы
Под такие пораметры лучше заново схему разработать
потому как
1) ИЕ 12 расчитана на работу с кварцевым резонатором 32768 (то часовой кварц , специально выбран такой частоты чтобы при делени на 2 на 10 в 12 степени получить импуольсы односекундной длительности , кстати для измерение частот придложенных тобой изменеие этого пораметра не требуеться
2) ампледуда входного сигнала от 0.05 до 15В, что значить что минимальный сигнал будет 50мв и ты попадаеш в этот диапазон - изменение не требуеться, по операционнику уж нади схему подходящую.
3) погрешность 2% от чего? (у данного тестора погрешность измерения ты хочеш порпробывать измерить частоту в 2.5 герц?
Вообще вопрос какбы стоит так , или это теоритический подход , тоесть тебе надо диплом написать или лабу сделать , или прктический подход, тогда переделок практически нетебуеться - если только измерять десятые и соты доли герца. Но это отельная песня и лечиться легко, но при этом длительность измерения выростит в на порядок а то и два
потому как
1) ИЕ 12 расчитана на работу с кварцевым резонатором 32768 (то часовой кварц , специально выбран такой частоты чтобы при делени на 2 на 10 в 12 степени получить импуольсы односекундной длительности , кстати для измерение частот придложенных тобой изменеие этого пораметра не требуеться
2) ампледуда входного сигнала от 0.05 до 15В, что значить что минимальный сигнал будет 50мв и ты попадаеш в этот диапазон - изменение не требуеться, по операционнику уж нади схему подходящую.
3) погрешность 2% от чего? (у данного тестора погрешность измерения ты хочеш порпробывать измерить частоту в 2.5 герц?
Вообще вопрос какбы стоит так , или это теоритический подход , тоесть тебе надо диплом написать или лабу сделать , или прктический подход, тогда переделок практически нетебуеться - если только измерять десятые и соты доли герца. Но это отельная песня и лечиться легко, но при этом длительность измерения выростит в на порядок а то и два
Малое знание опасно, впрочем, как и большое....
Пожалуйста Войти или Регистрация, чтобы присоединиться к беседе.
- MKsoft
-
Автор темы
Less
Больше
- Спасибо получено: 0
17 апр 2007 20:14 #3
от MKsoft
MKsoft ответил в теме Нужна помощь в переработке схемы
короче это лабораторка надо составить схему по заданным параметрам так как я с частотомерами дело не имел ни че сделать не могу вот и решил спросить совета
Пожалуйста Войти или Регистрация, чтобы присоединиться к беседе.
- Doc
-
- Не в сети
18 апр 2007 01:54 #4
от Doc
Малое знание опасно, впрочем, как и большое....
Doc ответил в теме Нужна помощь в переработке схемы
так в лабораторке не скзанно что надо обязательно переработать эту схему?
цифровой обязательно или можно аналоговый?
цифровой обязательно или можно аналоговый?
Малое знание опасно, впрочем, как и большое....
Пожалуйста Войти или Регистрация, чтобы присоединиться к беседе.
- MKsoft
-
Автор темы
Less
Больше
- Спасибо получено: 0
18 апр 2007 22:44 #5
от MKsoft
MKsoft ответил в теме Нужна помощь в переработке схемы
Мне обязательно цифровой и с определенными параметрами
Пожалуйста Войти или Регистрация, чтобы присоединиться к беседе.
Модераторы: Doc