- Сообщений: 10
- Спасибо получено: 0
можно ли посчитать по индуктивности катушки на какой частоте работала рация?
- tj
-
Автор темы
- Не в сети
Less
Больше
13 сен 2014 11:14 #1
от tj
Можно ли посчитать по индуктивности катушки на какой частоте работали рации?
9.5 мкГн и 65 мкГн?
9.5 мкГн и 65 мкГн?
Пожалуйста Войти или Регистрация, чтобы присоединиться к беседе.
- Николай Петрович
-
- Не в сети
Less
Больше
- Сообщений: 1116
- Спасибо получено: 46
13 сен 2014 15:45 - 13 сен 2014 15:59 #2
от Николай Петрович
Николай Петрович ответил в теме можно ли посчитать по индуктивности катушки на какой частоте работала рация?
Лучше посмотреть по кварцам. Катушки могут работать на гармониках, впрочем как и кварц. Одна индуктивность, без ёмкости, мало что даст. Нужна схема радиостанции, тогда может кто и сможет посчитать частоту. Скорее всего антенный фильтр настроен на частоту радиостанции.
А у неё есть название?
А у неё есть название?
Последнее редактирование: 13 сен 2014 15:59 пользователем Николай Петрович.
Пожалуйста Войти или Регистрация, чтобы присоединиться к беседе.
- Doc
-
- Не в сети
14 сен 2014 14:04 #3
от Doc
Малое знание опасно, впрочем, как и большое....
Doc ответил в теме можно ли посчитать по индуктивности катушки на какой частоте работала рация?
посчитать можно , но для этого надо знать на какой гармонике он работает и каковы конденсаторы в цени катушки.
(это при учете что рация не квантованная)
(это при учете что рация не квантованная)
Малое знание опасно, впрочем, как и большое....
Пожалуйста Войти или Регистрация, чтобы присоединиться к беседе.
- tj
-
Автор темы
- Не в сети
Less
Больше
- Сообщений: 10
- Спасибо получено: 0
14 сен 2014 20:23 #4
от tj
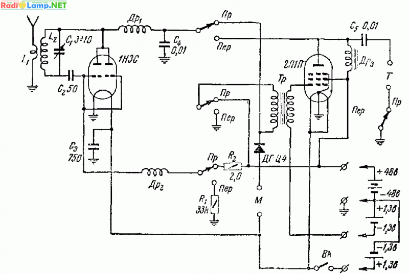
Вложения:
Пожалуйста Войти или Регистрация, чтобы присоединиться к беседе.
- Николай Петрович
-
- Не в сети
Less
Больше
- Сообщений: 1116
- Спасибо получено: 46
15 сен 2014 18:59 - 15 сен 2014 19:33 #5
от Николай Петрович
Николай Петрович ответил в теме можно ли посчитать по индуктивности катушки на какой частоте работала рация?
Могу определённо сказать, что модуляция амплитудная. Редко бывает АМ при несущей частоте 27 мГц, обычно в пределах 2 - 3 мГц. Дос, если можете посчитать L2 с ёмкостью 7 - 15 пФ (ёмкость сеток и антенны), помогите. Ещё хотелось бы уточнить: одна катушка и другая - это которые? А то есть сомнения, что это L1 и L2.
Никогда ранее не считал, но по " первому приближению" у меня получилось порядка 10 - 13 мГц.
Никогда ранее не считал, но по " первому приближению" у меня получилось порядка 10 - 13 мГц.
Последнее редактирование: 15 сен 2014 19:33 пользователем Николай Петрович.
Пожалуйста Войти или Регистрация, чтобы присоединиться к беседе.
Модераторы: Doc