- Сообщений: 4
- Спасибо получено: 0
Усилитель мощности
- VanyG
-
Автор темы
- Не в сети
Less
Больше
16 янв 2009 01:32 #1
от VanyG
VanyG создал тему: Усилитель мощности
Нужна полная схема УМ на лампе ГУ13.Выходная мощность трансивера 5вт.Заранее благодарен.
Пожалуйста Войти или Регистрация, чтобы присоединиться к беседе.
- Doc
-
- Не в сети
16 янв 2009 07:41 #2
от Doc
Малое знание опасно, впрочем, как и большое....
Doc ответил в теме Усилитель мощности
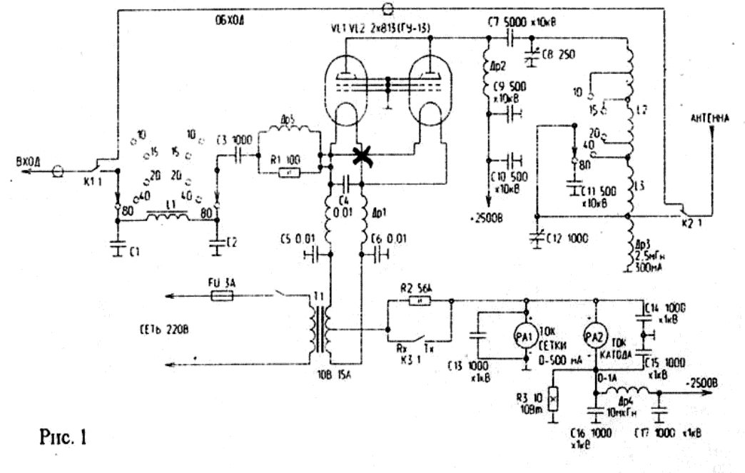
вот на двух лампах
Малое знание опасно, впрочем, как и большое....
Вложения:
Пожалуйста Войти или Регистрация, чтобы присоединиться к беседе.
- VanyG
-
Автор темы
- Не в сети
Less
Больше
- Сообщений: 4
- Спасибо получено: 0
16 янв 2009 19:34 #3
от VanyG
VanyG ответил в теме Усилитель мощности
Спасибо Doc! А схема драйвера и Блока питания у Вас имеется? Если да ,скиньте мне пожалуста.И даные П-контура,
Пожалуйста Войти или Регистрация, чтобы присоединиться к беседе.
- 12213123
-
- Не в сети
Less
Больше
- Сообщений: 87
- Спасибо получено: 0
08 март 2009 06:48 #4
от 12213123
12213123 ответил в теме Усилитель мощности
могу посоветовать только для 3мгц h ttp://unlispirates.ucoz.ru/
стр.26 фотоальбома ), эксклюзив ))))))
стр.26 фотоальбома ), эксклюзив ))))))
Пожалуйста Войти или Регистрация, чтобы присоединиться к беседе.
Модераторы: Doc